Introduction: Products that can provide entertainment
Application scope: DVD player, television, sound system, game console, camera, camcorder, video game console, home theater, telephone, telephone answering machine
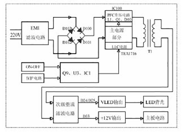
Application Examples:
Typical application circuit:
