简介:可提供娱乐的产品


应用范围:DVD播放机、电视机、音响、游戏机、摄像机、照相机、电视游戏机、家庭影院、电话、电话应答机


应用实例:

3.jpg


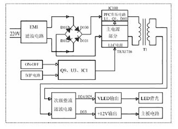
典型应用电路:

20231127140554608.jpg